下面推荐多款打印机共享修复工具,其实基本都能修复打印机问题,个别软件就是指定修复
软件提供的是错误代码的解决方案,并且得到过实际验证的不要拿着那些所谓的打印机共享修复工具来比较瞎猫碰死耗子跟对症下药区别很大!
都是非常轻量级的软件,只修复指定错误

图片
电脑重装系统后直接升级为了win10/22h2版本,突然发现无法连接部门局域网共享打印机了,显示错误代码0x00000709,重装前可以正常连接,部门其他电脑也正常使用。 打印机共享端为win7,可正常连接局域网打印机的其他电脑win10、win11都有。 网上的卸载k500的更新方法因电脑本身就没有这个更新而失败,另外下载一些修复bat,也以失败告终。

图片
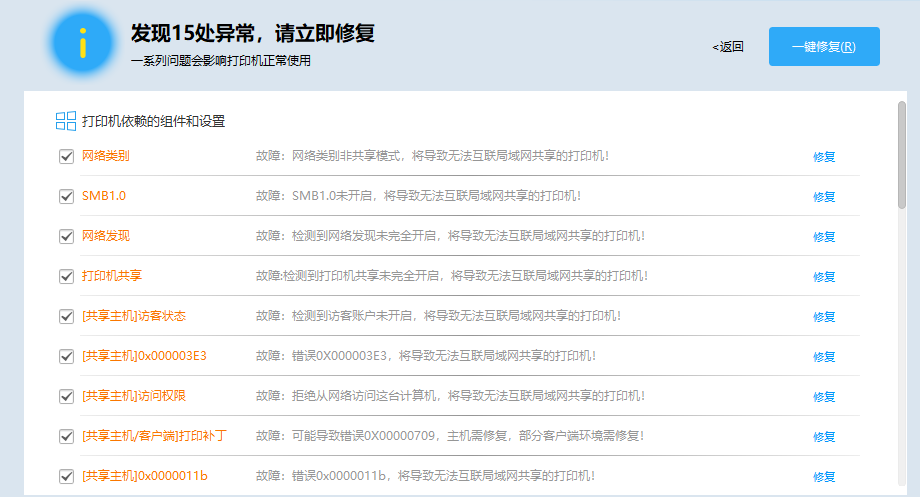
功能都在图片上面了,如果还需要安装其它支持的程序,会自动提示安装

图片
WIN10 2H22和WIN11 2H22已测试,709和11B能修复。

图片
闪克打印机修复助手可以一键修复因更新补丁导致的打印机共享连接失败问题,例如最近出现连接Win10和Win11共享打印机时报错,打印机错误代码0x0000011b、0x00000709等问题。支持最新Win11 24H2无法方法共享打印机问题,支持最新win11 24h2修复0x0000011b和0x00000709错误问题。

图片
独家修复LaserJet Pro MFP M126nw,LaserJet Pro MFP M126A,LaserJet Pro MFP M128FW驱动问题导致各种报错,特别是win7系统下,采用特殊机型故障处理修复即可

图片
独家修复windows11 24h2由策略限制导致的报错问题(你计算机上一个有效的策略使你无法连接到此打印队列),采用打印权限状态修复即可。

图片

图片

图片
里面有 共享打印机错误修复PrintFix(709&11b等错误代码) 专门修复工具
NT6打印机修复

图片
此工具专门用于一键修复系统更新造成的打印机无法共享的问题,支持 WIN10 1809 及 WIN10 2004 以上的系统,如果在桌面环境下修复不成功,请进入 PE 里对目标系统离线修复即可,修复后重启电脑生效。

图片

图片